Home Index Site Map Up: Patent Index Navigation
Up: Patent Index
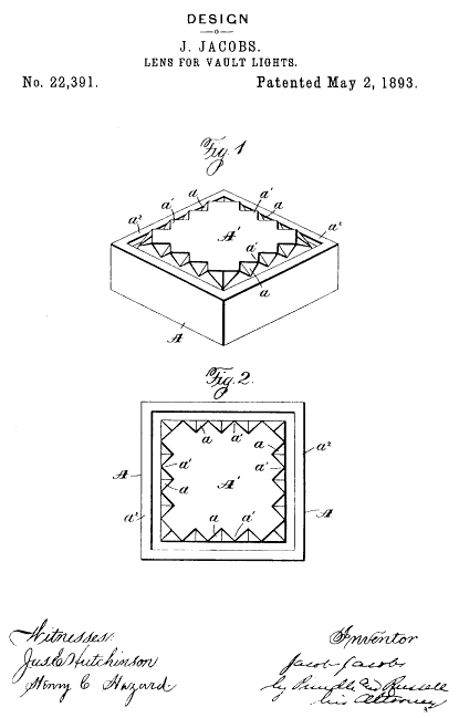
D22,391 · Jacobs · "Design for a Lens for Vault-Lights" · Drawing
Home  > Prism Glass  > Patent Index  > Drawing
First: D22,391 · Jacobs · "Design for a Lens for Vault-Lights" · Page 1 Last: D22,391 · Jacobs · "Design for a Lens for Vault-Lights" · Drawing Prev: D22,391 · Jacobs · "Design for a Lens for Vault-Lights" · Page 1 Next: D22,391 · Jacobs · "Design for a Lens for Vault-Lights" · Page 1 Navigation
D22,391: 2 of 2

First: 8,058X · Rockwell · "Vault Light" · Drawing Last: 397,371 · Deutsche Glasbau-Gesellschaft · "Improvements in Moulds for use in the Construction of Floor Slabs, Wall Panels, Pavement Lights, Windows and the like of Glass Framed in Ferroconcrete" · Drawing Prev: D22,390 · Jacobs · "Design for a Lens for Vault-Lights" · Drawing Next: 501,008 · Haustein · "Frame for Illuminating-Tiles" · Drawing 1 Navigation
Drawings: 366 of 667
D22,391 · Jacobs · Design for a Lens for Vault-Lights