Home Index Site Map Up: Patent Index Navigation
Up: Patent Index
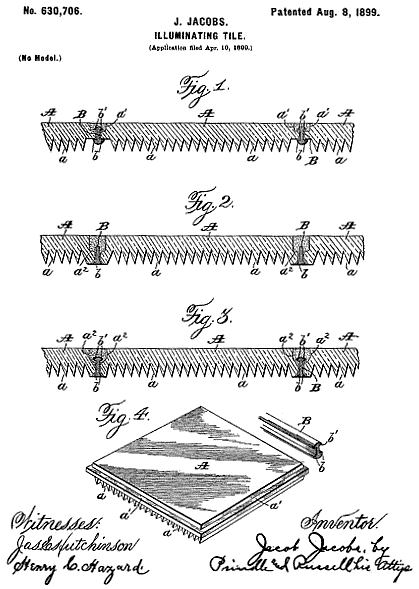
630,706 · Jacobs · "Illuminating-Tile" · Drawing
Home  > Prism Glass  > Patent Index  > Drawing
First: 630,706 · Jacobs · "Illuminating-Tile" · Page 1 Last: 630,706 · Jacobs · "Illuminating-Tile" · Drawing Prev: 630,706 · Jacobs · "Illuminating-Tile" · Page 1 Next: 630,706 · Jacobs · "Illuminating-Tile" · Page 1 Navigation
630,706: 2 of 2

First: 8,058X · Rockwell · "Vault Light" · Drawing Last: 397,371 · Deutsche Glasbau-Gesellschaft · "Improvements in Moulds for use in the Construction of Floor Slabs, Wall Panels, Pavement Lights, Windows and the like of Glass Framed in Ferroconcrete" · Drawing Prev: 630,337 · French · "Sidewalk or Floor Construction" · Drawing Next: 631,220 · Manning · "Illuminating Window-Glass" · Drawing Navigation
Drawings: 630 of 667
630,706 · Jacobs · Illuminating-Tile