Home Index Site Map Up: Patent Index Navigation
Up: Patent Index
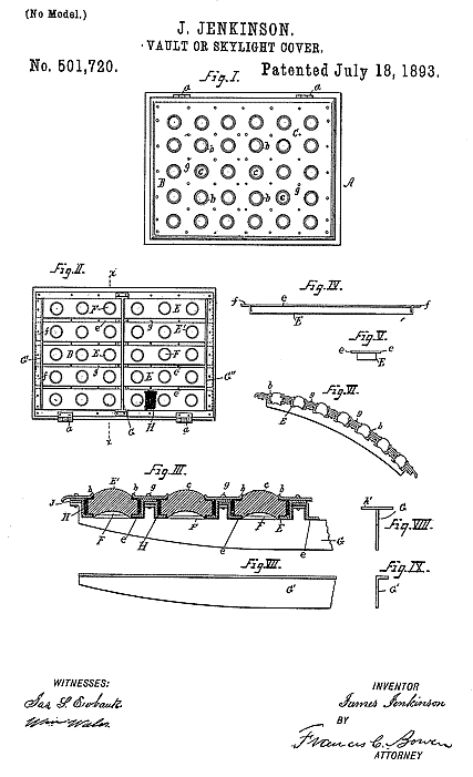
501,720 · Jenkinson · "Vault or Skylight Cover" · Drawing
Home  > Prism Glass  > Patent Index  > Drawing
First: 501,720 · Jenkinson · "Vault or Skylight Cover" · Page 1 Last: 501,720 · Jenkinson · "Vault or Skylight Cover" · Drawing Prev: 501,720 · Jenkinson · "Vault or Skylight Cover" · Page 2 Next: 501,720 · Jenkinson · "Vault or Skylight Cover" · Page 1 Navigation
501,720: 3 of 3

First: 8,058X · Rockwell · "Vault Light" · Drawing Last: 397,371 · Deutsche Glasbau-Gesellschaft · "Improvements in Moulds for use in the Construction of Floor Slabs, Wall Panels, Pavement Lights, Windows and the like of Glass Framed in Ferroconcrete" · Drawing Prev: 501,008 · Haustein · "Frame for Illuminating-Tiles" · Drawing 2 Next: 504,872 · French · "Vault or Floor Light" · Drawing Navigation
Drawings: 369 of 667
501,720 · Jenkinson · Vault or Skylight Cover